关注 | 9项司法鉴定/法庭科学国家标准将于2019年4月1日正式实施
发布时间:2023-11-11 14:50
|
阅读量:
|
作者:
小编

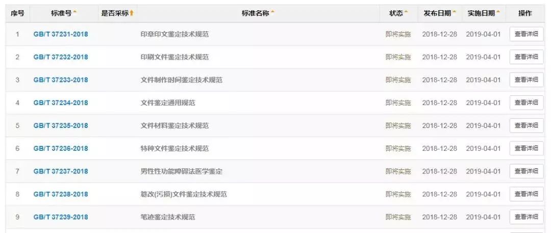
全国标准信息公共服务平台(http://www.std.gov.cn/)获悉,由司法部主管与归口,国家市场监督管理总局、中国国家标准化管理委员会于2018-12-28发布了《印章印文鉴定技术规范》(GB/T 37231-2018)、《印刷文件鉴定技术规范》(GB/T 37232-2018)、《文件制作时间鉴定技术规范》(GB/T 37233-2018)、《文件鉴定通用规范》(GB/T 37234-2018)、《文件材料鉴定技术规范》(GB/T 37235-2018)、《特种文件鉴定技术规范》(GB/T 37236-2018)、《男性性功能障碍法医学鉴定》(GB/T 37237-2018)、《篡改(污损)文件鉴定技术规范》(GB/T 37238-2018)、《笔迹鉴定技术规范》(GB/T 37239-2018)等9项法庭科学技术标准,即将于2019年4月1日正式实施。
